Technical Details
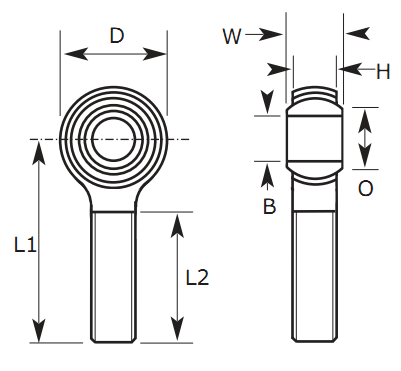
| MP-08 1/2inch Right Hand Rod End Bearing MP - Series is our 3-piece standard range of self lubricating general purpose male rod ends suitable for light to medium heavy industrial/mechanical load applications requiring low friction and good wear resistance. They have excellent moisture resistance and require no maintenance and have a wide operating temperature range. Materials Specification Temperature Range |

Disclaimer: Should a manufacturer of a given part not be available then a direct equivalent from an alternative manufacturer will be supplied.
We're Here To Help!
Fill out the form with any query on your mind and we'll get back to you as soon as possible